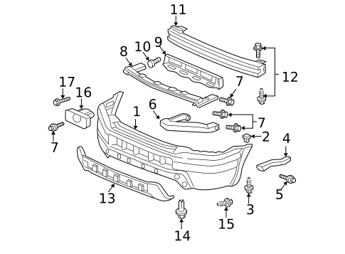
Bumper & Components - Front for 2003 Honda Pilot
No.
Part # / Description / Price
Price
2
1999-2014 Honda - Grommet Bumper End
Honda
Honda Positions: Right
Description: 2009-14. Upper. 2006-08, #1. 2003-05.
MSRP $1.68
$1.32
MSRP $1.68
$1.32
3
MSRP $5.87
$4.61
4
2003-2005 Honda Pilot - Stiffener L Front Bumper Side
Honda
Honda Positions: Left
Description: 2003-05.
MSRP $25.90
$19.10
MSRP $25.90
$19.10
4
2003-2005 Honda Pilot - Stiffener R Front Bumper Side
Honda
Honda Positions: Right
Description: 2003-05.
MSRP $25.90
$19.10
MSRP $25.90
$19.10
5
1997-2014 Honda - Screw Tapping (5X10)
Honda
Honda Positions: Left
Description: 2009-14. 2006-08. Dx, lx, ex & ex-p, 2003-08. 2003-05. Sc, 2007-08. Lx, ex, 2009-11. Sc, 2009-10.
MSRP $0.91
$0.72
MSRP $0.91
$0.72
6
2003-2005 Honda Pilot - Beam L Front Bumper Corner (Upper)
Honda
Honda Positions: Left
Description: 2003-05.
MSRP $62.60
$44.28
MSRP $62.60
$44.28
6
2003-2005 Honda Pilot - Beam R Front Bumper Corner (Upper)
Honda
Honda Positions: Right
Description: 2003-05.
MSRP $62.60
$44.28
MSRP $62.60
$44.28
7
MSRP $2.28
$1.79
8
MSRP $61.20
$43.29
9
MSRP $75.62
$53.49
10
2003-2008 Honda - Clip (11X15)
Honda
Honda Positions: Left
Description: 2006-08. 2003-05.
MSRP $11.67
$9.16
MSRP $11.67
$9.16
11
MSRP $284.27
$189.32
12
MSRP $3.18
$2.50
13
2003-2005 Honda Pilot - Garnish Front Bumper Face Skid *NH647M* (Warm Gray Metallic)
Honda
Honda Description: 2003-05.
MSRP $104.03
$70.47
MSRP $104.03
$70.47
14
MSRP $5.92
$4.65
15
2003-2018 Honda - Screw Tapping (5X16)
Honda
Honda Description: Inner. 2012-15. Bumper cover & trim, 2016-18. Dx, lx, ex & ex-p, 2003-08, #1. 2009-11. 2006-08. 2003-05. Sc, 2007-08, #1.
MSRP $6.35
$4.99
MSRP $6.35
$4.99
16
2003-2005 Honda Pilot - Base Front License Plate *NH533* (Bumper Dark Gray)
Honda
Honda Description: 2003-05.
MSRP $44.58
$31.54
MSRP $44.58
$31.54
Related Parts
Part # / Description / Price
Price
1998-2015 Honda - Sensor Ambient
Honda
Honda Description: Pilot. Odyssey. Accord. 2012-15. 2009-11. 2006-08. Ex, ex-l. 2003-05, ambient. Usa only, 3.0L, ex.
MSRP $94.32
$63.89
MSRP $94.32
$63.89
Cover Molding
Honda
Honda Notes: PARTS: Kit includes parts for front bumper cover and rear bumper cover.
Description: 2003-05, accessory kit.
